拡大画像をみる
| パワーモード | |
|---|---|
| 最大平均パワー: | 10 W |
| 最大断続的パワー(1): | 15 W |
| 最小パワー: | 10 mW |
| パワー分解能: | 100 μW |
| ノイズ等価パワー(NEP): | 0.6 mW |
| 表示応答時間 (0-90%): | 1 sec |
| パワー較正不確実性: | ± 3 % |
| パワー直線性(2): | ± 1 % |
| ビーム検出モード | |
| ビーム位置精度: | 50 μm |
| ビーム位置分解能: | 10 μm |
| 最小パワー(3): | 50 mW |
| アブソーバー仕様 | |
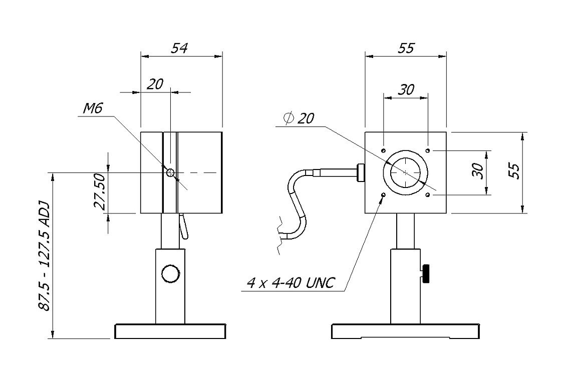
| 口径: | 20 mm |
| タイプ: | BBF |
| アブソーバースペクトル域: | 0.19 - 25 μm |
| 較正スペクトル域: | 0.19 - 2.1 μm, 2.94μm, 9 - 11μm |
| 最大パワー密度(3): | 200 W/cm2 |
| 最大エネルギー密度(4): | 5 ms パルス幅:3.6 J/cm2 10 μs パルス幅:0.2 J/cm2 10 ns パルス幅:0.1 J/cm2 |
| 一般的特性 | |
| 冷却: | 自然対流 |
| 重量: | 0.3 kg |
| サイズ: | 55 x 55 x 54 mm |
| ケーブル長 コネクター: | 1.5 m - DB25 |
| スタンドおよびポスト: | 軽量スタンド付 |
| 備考 | |
| (1):最大2分 (2):検出器中央に照射時@50%有効表面 (3):ビーム位置検出に必要 (4):損傷しきい値はパワーレベルにも依存 詳細は損傷グラフをご参照下さい。 |
|